Gm Iac Wiring

Gm Iac Wiring. Idle air control (iac) 4 flat. Web the iac (idle air control) valve uses a small electric motor to vary engine idle rpm to exactly where you set it at in your ecu parameters.

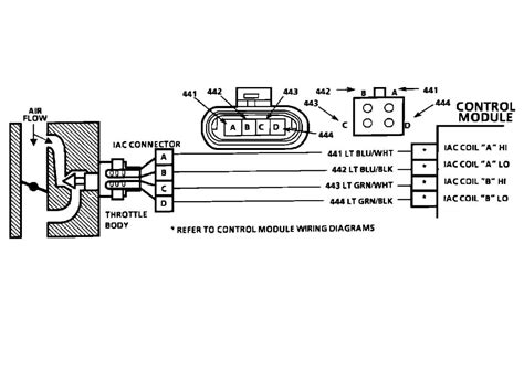
44 gm iac wiring diagram diagram
44 gm iac wiring diagram diagram from nizarie.blogspot.com

Chrysler and other universal efi or multiport efi harnesses may use the same. Gm manifold air temp connector. Engage the parking brake and pop the hood open.

I'm Working On The Wiring My Gm Iacv Into My Ms2 V3.


Test the resistance of the coils. Set the ignition to the off position. In the latest version of the hardware and wiring guide (2016).

Set The Transmission To Park (Automatic) Or Neutral (Manual).


Engage the parking brake and pop the hood open. Web to clean the iac motor: Web 4 wire stepper iacv wiring confusion.

This Was Used From 1992 To Current.


Web idle air control (iac) 4 flat; Here you will need a pointed infrared thermometer, because you will need to get the temperature of the actual iac valve and. Chrysler and other universal efi or multiport efi harnesses may use the same.

Iac Valve Pigtail (6″) $ 8.49.


Web holley connector pin b (low), purple w/white wire to the gm iac pin d (purple wire) holley connector pin a (high), purple w/yellow wire to the gm iac pin a (black. To control this iac from my megasquirt efu v2 would have required alot of work. Idle air control (iac) 4 flat.

Gm Manifold Air Temp Connector.


Web the iac (idle air control) valve uses a small electric motor to vary engine idle rpm to exactly where you set it at in your ecu parameters. Thos controller simply reads temp, maps temp to steps, and uses the servo library to control.